TE-881 Series

May not be exact product – for reference only.

TE-8816U

Lead Time: 

In stock

Days

Function: 

Multi-function

CONTROL VOLTAGE

12-140V AC/DC

output

15A SPDT

TIMING RANGE

0.1 Sec – 10 Days

TIMING RANGE 2

None

MOUNT

17.5mm

TIMING ADJUSTMENT

Analog

STANDARD MODIFICATIONS

None

REMOTE POTENTIOMETER

None

REMOTE POTENTIOMETER 2

None

$102.08

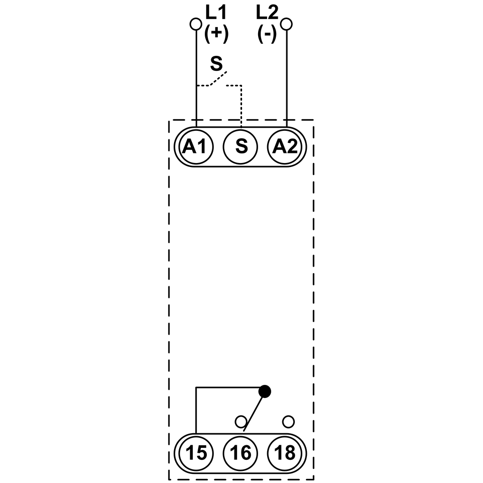
Description of Function

TE-881 products have 10 functions built-in. The operation of each one is shown at right. For more information, click here to view and/or print the catalog page in .pdf format, or click here to view and/or print the instruction sheet in .pdf format.

Function Chart

Product Overview

Features:

The TE-88 series provides 10 programmable timing functions with 15A SPDT or DPDT output contacts. These versatile relays can replace hundreds of separate time delay relays.

Enclosure Style:

17.5 mm Din-rail
Configuration / Contact Rating:
15A SPDT
Application Information:
Voltage Tolerance: -15% of 12V, +10% of 240V. Load (Burden): 3VA (AC), 1.7W (DC). Repeat Accuracy (Constant Voltage & Temperature): +0.2%. Reset Time: 0.150 Seconds. Indicator LED: Green-Input Voltage; Red (Flashing)-Timing or Red (Steady)-Relay ON. Output Contacts: 15A @ 240V AC, 1/3HP @ 120V AC, 3/4HP @ 240V AC, B300. Life: Mechanical: 10,000,000 operations; Full Load: 70,000 operations. Temperature: -20o to 55o C (-4o to 131o F).
Approvals:

Operations

The TE-881 Series time delay relays offer 10 timing functions and a universal voltage input (12-240V AC/DC) with a programmable time range from 0.1 second – 10 days all in one compact unit. Choose between versions with 15A SPDT or DPDT output contacts. A green LED indicates control voltage applied; a red LED blinks during timing and is steady when the output relay is energized. These products have a compact 17.5mm enclosure which snaps on to 35mm DIN rail. This conserves space and reduces installation time, which saves money. With all this flexibility, the TE-881 Series replaces hundreds of separate time delay relays.

Product Reviews

Do you have experience with this product? Leave us a review!
Add a review
TE-8816U TE-8816U
Rating*
0/5
* Rating is required
Your review
* Review is required
Name
* Name is required
0.0
Based on 0 reviews
5 star
0%
4 star
0%
3 star
0%
2 star
0%
1 star
0%
0 of 0 reviews

Sorry, no reviews match your current selections